返回>>
超聲基線定位換能器DYW-HT25
名稱:超聲基線定位換能器
型號:DYW-HT25
工作溫度:-40~+80℃
壓力:≤10 公斤或者 1MPa
外殼材質:不銹鋼、ABS
用途:定位等
防護等級:IP68
重量:2220g±5%(線長:10m)
應用領域:水下機器人、大型設備、潛水員的定位、指令通信及測距等。
產品詳情
聲基線定位換能器
眾所周知,超聲波定位器的發射接收原理是模仿蝙蝠的定位原理,使用1個超聲波發射器,2個超聲波接收器,由物體反射波到達2個接收器所用的時間進行定位,該方法可以對普通物體進行定位。超聲波定位系統主要研究超聲波的測距方法,然后根據距離和提供算法來計算出待測物體的位置,超聲波測距的方法有:
一、反射式測距法:即發射超聲波并接收由被測物產生的回波,根據回波與發射波的時間差計算出待測距離。
二、單向測距法
單向測距法中由應答器和主測距器組成,主測距器放置在被測物體上,在微機指令信號的作用下向位置固定的應當器發射同頻率的無線電信號,應答器在接收到無線電信號后同時向主測距器發射超聲波信號,得到主測距器與各個應答器這間的距離。
超聲波定位目前大多采用反射式測距法。
大禹電子根據超聲波測距原理,自主研發生產的超聲波定位換能器,應用領域:水下機器人、大型設備、潛水員的定位、指令通信及測距等。
聲基線定位換能器(分體式)
型號:DYW-HT25
工作溫度:-40~+80℃
壓力:≤10 公斤或者 1MPa
外殼材質:不銹鋼、ABS
用途:定位等
防護等級:IP68
重量:2220g±5%(線長:10m)
接線說明
半球端:棕:換能器正極; 黑:換能器正極; 圓柱端:白:公共負極; 黃:公共屏蔽; 粉、藍、綠、灰、紅:換能器正極;


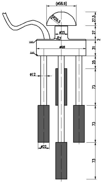
結構圖


上一條
暫無~
下一條
暫無~
QQ:2187169532
手機:18050180580
郵箱:2187169532@qq.com
地址:福建省福州市晉安區福興經濟開發區紅光路11號E座





